ВМС США контролируют изобретения, претендующие на изменение «ткани реальности»

ВМС США контролируют изобретения, претендующие на изменение «ткани реальности»
ВМС США контролируют изобретения, претендующие на изменение «ткани реальности»

Изобретения с революционным потенциалом, сделанные загадочным аэрокосмическим инженером для ВМС США, выходят на свет.

Image
Image

Ключевые выводы

  • НАС. Флот владеет патентами на загадочные изобретения аэрокосмического инженера доктора Сальваторе Паиса.
  • Паис придумал технологию, которая может «спроектировать» реальность, изобрел сверхбыстрый корабль, термоядерный реактор и многое другое.
  • Хотя на данный момент это в основном теоретические изобретения, они могут трансформировать энергетический, космический и военный секторы.

ВМС США контролируют патенты на некоторые футуристические и диковинные технологии, некоторые из которых, получившие название «патенты на НЛО», стали известны недавно. Особого внимания заслуживают изобретения несколько загадочного доктора Сальваторе Сезара Паиса, чьи технологии утверждают, что они способны «конструировать реальность». Его список очень амбициозных, граничащих с научной фантастикой проектов, предназначенных для использования правительством США, варьируется от генераторов гравитационных волн и компактных термоядерных реакторов до гибридных аэрокосмических и подводных кораблей нового поколения с революционными двигательными установками и не только.

Конечно, наличие патентов не означает, что эти технологии действительно были созданы, но есть свидетельства того, что некоторые демонстрации работоспособности были успешно проведены. Как сообщает The War Zone, возможная причина, по которой некоторые из патентов могут быть переданы военно-морскому флоту, заключается в том, что китайские военные также могут разрабатывать аналогичные передовые гаджеты.

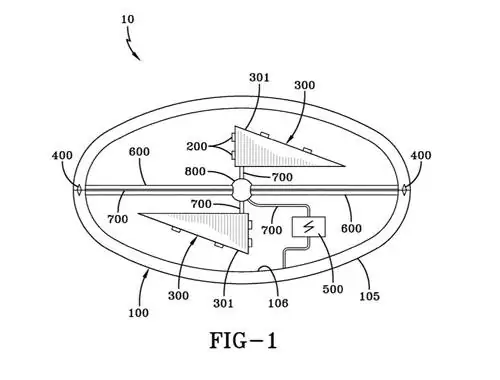
Среди патентов доктора Паиса - одобренные в 2018 году проекты аэрокосмического подводного корабля невероятной скорости и маневренности. Этот конусообразный аппарат потенциально может летать везде, где бы он ни находился, будь то воздух, вода или космос, не оставляя никаких тепловых сигнатур. Он может достичь этого, создав квантовый вакуум вокруг себя с очень плотным поляризованным энергетическим полем. Этот вакуум позволит ему отталкивать любую молекулу, с которой соприкасается корабль, независимо от среды. Управление «флуктуациями квантового поля в локальном энергетическом состоянии вакуума» поможет уменьшить инерцию корабля. Поляризованный вакуум резко снизит любое сопротивление элементов и приведет к «экстремальным скоростям», утверждается в статье.

Мало того, если технология создания вакуума может быть спроектирована, мы также сможем «спроектировать ткань нашей реальности на самом фундаментальном уровне», - говорится в патенте. Это привело бы к значительным достижениям в аэрокосмической силовой установке и выработке электроэнергии. Не говоря уже о других изменениях реальности, которые приходят на ум.

Среди других патентов Паиса есть изобретения, основанные на сходном мышлении, в которых описываются элементы технологии, необходимые для воплощения его творений в жизнь. В его статье, представленной в 2019 году, под названием «Сверхпроводящая система при комнатной температуре для использования на гибридном аэрокосмическом подводном корабле», предлагается система, которая может достигать сверхпроводимости при комнатной температуре. Это станет «крайне прорывной технологией, способной полностью изменить парадигму науки и техники», - говорит Паис.

Image
Image

Высокочастотный генератор гравитационных волн. Фото: доктор Сальваторе Паис

Другое изобретение, разработанное Паисом, - это генератор электромагнитного поля, который может создавать «непробиваемый защитный щит для моря и суши, а также для военных и гражданских объектов космического базирования». Этот щит может защитить от таких угроз, как противокорабельные баллистические ракеты, крылатые ракеты, уклоняющиеся от радаров, выбросы корональной массы, военные спутники и даже астероиды.

Доктор. Идеи Паиса сосредоточены вокруг явления, которое он назвал «Эффектом Пайса». плазма) через ускоренное вращение и/или ускоренную вибрацию при быстрых (но плавных) переходных процессах ускорение-замедление-ускорение. Говоря менее жаргонными терминами, Паис утверждает, что выяснил, как вращать электромагнитные поля, чтобы сдерживать реакцию синтеза - достижение, которое привело бы к огромным изменениям в энергопотреблении и изобилию энергии.

Согласно его биографии в недавно опубликованной статье о новом плазменно-компрессионном термоядерном устройстве, которое может трансформировать производство энергии, доктор Паис является инженером-механиком и аэрокосмическим инженером, работающим в авиационном подразделении военно-морского авиационного центра (NAWCAD), штаб-квартира которой находится в Патаксент-Ривер, штат Мэриленд. Имея докторскую степень. Паис из Университета Кейс Вестерн Резерв в Кливленде, штат Огайо, был научным сотрудником НАСА и работал в Northrop Grumman Aerospace Systems. Его текущая работа в Министерстве обороны включает в себя его «продвинутые знания теории, анализа и современных экспериментальных и вычислительных методов в аэродинамике, а также понимание конструкции летательных аппаратов и ракет, особенно в области гиперзвуковых силовых установок и конструкций транспортных средств. Он также обладает экспертными знаниями в области электрооптики, новых квантовых технологий (в частности, генерации лазерной энергии), генерации высокоэнергетического электромагнитного поля и «прорывного поля сверхпроводимости при комнатной температуре в связи с передовыми полевыми двигателями».

Достаточно сказать, что с таким списком научных достижений, которыми мог бы гордиться Никола Тесла, доктор Паис, кажется, имеет хорошие возможности для проведения новаторской работы.

Image
Image

Корабль, использующий устройство уменьшения инерционной массы. Предоставлено: Salvatore Pais

Патенты не обязательно приведут к тому, что эти технологии когда-либо увидят свет. У исследования есть своя доля недоброжелателей и неверующих среди других ученых, которые считают, что количество энергии, необходимое для полей, описанных Паисом, и его идеи об электромагнитных двигателях выходят далеко за рамки современных технологий и почти невозможны. Тем не менее, следователи The War Zone обнаружили комментарии официальных лиц ВМФ, указывающие на то, что изобретения рассматриваются достаточно серьезно и проводятся некоторые испытания.

Если вы хотите сами ознакомиться с патентами Паиса, ознакомьтесь с ними здесь.

Image
Image

Турбореактивная двигательная установка с лазерным усилениемИзображение: доктор Сальваторе Паис